その他 建築 建築基準法(構造)

確認申請書の書き方【第六面】

2025-12-29

・確認申請書第六面の書き方は?
・構造計算の基準がどれかわからない。。
・特定構造計算基準って?

指定確認検査機関の元社員が解説します。

確認申請書第六面について

まずは確認申請書第六面について、説明します。

第六面は、平成27年6月1日の建築基準法の改正に伴い追加されました。

第六面は構造に関する内容です。

様式は、建築基準法施行規則で定められていて、以下のように【1】~【8】欄で構成されています。

※都度改正が行われていますが、2025年現在の様式で解説します。


そして、以下のように記載方法についての説明もあります。

基本的にはこの説明に従って記載すればよいですが、元審査担当としての視点で具体的に解説していきます。

【1.番号】欄について

※まず前提として、申請する建築物の構造上の棟数分、第四面~第六面を作成します。

・申請建物が一棟だけの場合は、「1」を記入します。

・1,2,3,4…というように、棟数に応じて数字を記入します。

・EXP.jで分離しているような、意匠上一棟となっていて構造上は2棟以上となっている建物については、1-1,1-2,1-3…というように枝番で記載します。

・ただし、延べ面積は10㎡以内の建築物は第四面~第六面は作成不要です。

※第四面の説明に記載されています↓↓↓


以上が基本的なルールになります。

次からは、具体的な例を使って説明します。

・例1 建築物(100㎡)、建築物(80㎡)、建築物(5㎡)の新築

100㎡の建物と80㎡の建物にそれぞれ 1,2 と番号を振ります。5㎡の建物は10㎡以下なので六面は作成不要となります。


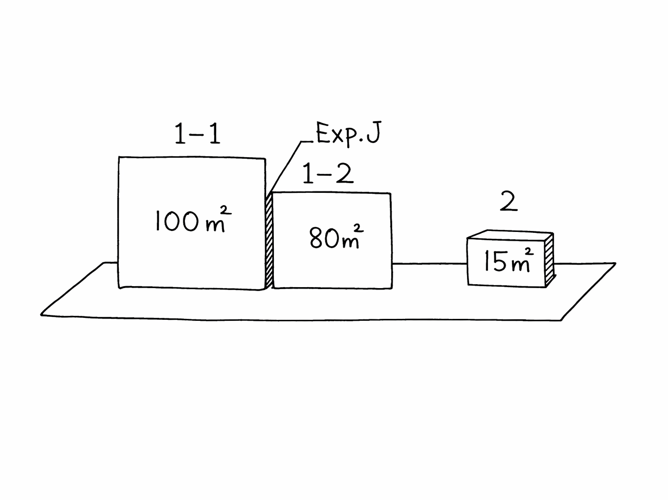
・例2 建築物(180㎡。100㎡と80㎡に構造上分離。)、建築物(15㎡)の新築

100㎡の建物には 1-1、80㎡の建物には 1-2 と振ります。15㎡の建物には 2 と振ります。


・例3 既存建物(100㎡)にEXP.J増築(80㎡、15㎡)

既存建物にEXP.Jで一体増築(構造上分離)の場合は、既存建物にも以下のように番号を振ります。

【2.延べ面積】【3.建築物の高さ等】について

この欄では、申請建物の延べ面積、最高高さ、軒高、階数、構造を記載します。

構造上の棟ごとに各数値を算出して記載します。

ただし、申請建物の数が1棟のみの場合はこの欄は記載する必要はありません。

【4.特定構造計算基準又は特定増改築構造計算基準の別】について

特定構造計算基準、特定増改築構造計算基準とは、建築基準法第6条の3において規定される言葉で、構造適判の対象となる計算基準を意味します。

特定構造計算基準は新築時において適用され、特定増改築構造計算基準は既存不適格増築の際に適用されます。

以下のように分類されます。

特定構造計算基準に該当する構造計算ルート3(保有水平耐力計算)
ルート2(許容応力度等計算)
限界耐力計算 
特定構造計算基準に該当しない計算ルート1(許容応力度計算)
壁量計算
告示免震 他

※ルート1等の場合でも、大臣認定プログラムを用いる場合は特定構造計算基準に該当します。

既存不適格増築で、増築する棟の構造計算が上記の表で特定構造計算基準に該当する場合に特定増改築構造計算基準に該当します。

【5.構造計算の区分】について

この欄では、申請建物の構造計算内容に応じて、該当する部分にチェックを入れます。

各項目について表にまとめました。

法令構造計算内容
建築基準法施行令第81条1項各号に掲げる基準に従った構造計算時刻歴応答解析
建築基準法第81条第2項第1号イに掲げる構造計算ルート3(保有水平耐力計算)
建築基準法第81条第2項第1号ロに掲げる構造計算限界耐力計算
建築基準法第81条第2項第2号イに掲げる構造計算ルート2(許容応力度等計算)
建築基準法第81条第3項に掲げる構造計算ルート1(許容応力度計算)


【6.構造計算に用いたプログラム】について

この欄では、構造計算に用いたプログラム名等を記載します。

【イ.名称】欄には、プログラム名を入力します。プログラムのバージョンも通常記載します。

また、手計算の場合は「手計算」などと記載しておきます。

【ロ.区分】欄には、構造計算で用いたプログラムが大臣認定のものである場合には上のチェックボックスにチェックを入れます。

通常、大臣認定のプログラムを用いることはほぼないので、「その他のプログラム」にチェックを入れればOKです。

手計算の場合は空欄で問題ありません。

【7.建築基準法施行令第137条の2各号に定める基準の区分】について

この欄は、既存不適格増築の際に記載が必要となる項目です。

新築の際は記載不要となります。

ここで説明すると複雑になるので、別記事で解説しようと思います。

【8.備考】について

この欄は、特記事項等があれば適宜記載する欄になります。

備考欄活用例

・計画変更申請の場合に、変更概要を記載

・申請する棟が複数ある場合、区別するために「〇〇棟」などと記載

まとめ

今回の記事は以上です。

確認申請書の書き方を理解することで、審査期間の短縮にもつながるので、是非マスターしましょう。

記事をお読みいただき、ありがとうございました。

  • この記事を書いた人

TAK

新卒で確認検査機関に入社し、意匠・構造の双方の確認審査業務を経験した元確認検査員。 建築基準法をはじめ、建築物に関するお役立ち情報を発信します。 【保有資格】 一級建築士/一級建築基準適合判定資格者/特定建築基準適合判定資格者(ルート2主事)/ 宅地建物取引士/住宅性能評価員/省エネ適合性判定員 ほか

-その他, 建築, 建築基準法(構造)